تبريد المحولات: تبريد زيت طبيعي وهواء جبري (ONAF)
المؤلف:
الدكتور كاميليا يوسف محمد
المصدر:
المحولات الكهربائية
الجزء والصفحة:
155
4-11-2021
2513
تبريد المحولات: تبريد زيت طبيعي وهواء جبري (ONAF)
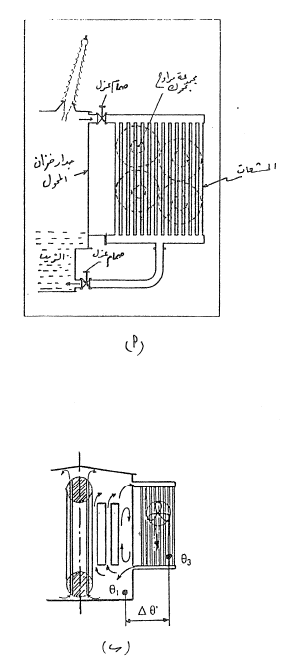
يعكن تثبيت مجموعة مراوح بمحركات على المشعات ، حيث يعتمد عدد المراوح على قدرة المحول، ويكون دفع الهواء بوساطة المراوح ، وهو مايعرف بالتيريد بهواء جبري.
شكل(1أ) يوضح تثبيت المراوح تجاه المشعات.
شكل (1ب) يوضح اتجاه الزيت داخل المحول نتيجة التبريد بوسط خارجي، وهو يدخل تحت نوع الهواء الجبري ، ففي حالة تشغيل المراوح ، نجد أن درجة حرارة الزيت داخل المشعات اصبحت (θ3) وهذه منخفضة عن (θ2)، وهي التي تمثل درجة حرارة الزيت قبل تشغيل المراوح ، اي أن هناك اختلافاً بين درجات حرارة الزيت داخل المحول ،عن المشعات، حيث تكون في الأخيرة أكبر أي أن
Δθ = (θ3 - θ1)>(θ2 - θ1)
حيث (θ1) درجة حرارة الزيت داخل المحول بالموضع المحدد بالشكل (1ب) بمعنى آخر يزيد معدل دوران الزيت، وبالتالي يكون للتبريد تاير وفائدة أكبر. وهذه تمثل حالتان : تبريد زيت طبيعي وهواء طبيعي ( تكون المراوح مفصولة ) ، وتبريد زيت طبيعي وهواء جبري ( يتم تشغيل المراوح) ويرمز لهذا النوع بالمحولات. ويجب الالتزام عند تشغيل المحولات بالقدرة المسموحة فى حالة وهي غالباً 60% من القدرة الكلية للمحول، بينما نحصل على قدرة المحول الكلية في حالة تشغيل (ONAF).

شكل(1)
الاكثر قراءة في الكهربائية
اخر الاخبار
اخبار العتبة العباسية المقدسة